Как подключить краб

Джилекс краб 50. Джилекс краб 24л. Комплект автоматики джилекс для гидроаккумулятора. Автоматика джилекс краб 50. Джилекс краб 50.
Джилекс краб 50. Джилекс краб 24л. Комплект автоматики джилекс для гидроаккумулятора. Автоматика джилекс краб 50. Джилекс краб 50.
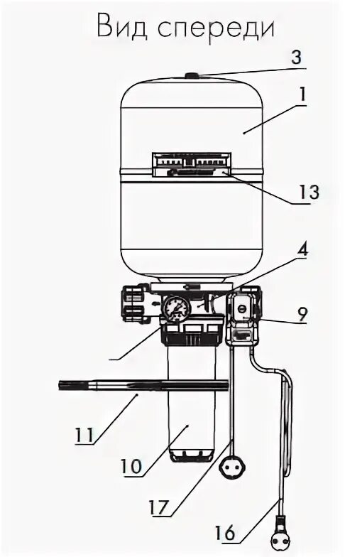
Гидроаккумулятор джилекс краб-т 50 л вертикальный. Как подключить краб. Гидроаккумулятор 50л джилекс краб 50. Краб т 50 джилекс схема. Как подключить краб.
Гидроаккумулятор джилекс краб-т 50 л вертикальный. Как подключить краб. Гидроаккумулятор 50л джилекс краб 50. Краб т 50 джилекс схема. Как подключить краб.
Джилекс краб-т 50. Джилекс краб 50. Фильтр для воды краб 50 джилекс. Гидроаккумулятор джилекс краб-т 50 50 л. Гидроаккумулятор джилекс 50 краб.
Джилекс краб-т 50. Джилекс краб 50. Фильтр для воды краб 50 джилекс. Гидроаккумулятор джилекс краб-т 50 50 л. Гидроаккумулятор джилекс 50 краб.
Как подключить краб. Краб т 50 джилекс схема подключения. Джилекс бак краб 50л. Краб 50 джилекс клапан давления. Как подключить краб.
Как подключить краб. Краб т 50 джилекс схема подключения. Джилекс бак краб 50л. Краб 50 джилекс клапан давления. Как подключить краб.
Джилекс краб-т 50. Система джилекс краб т 100. Как подключить краб. Джилекс краб-т 50. Как подключить краб.
Джилекс краб-т 50. Система джилекс краб т 100. Как подключить краб. Джилекс краб-т 50. Как подключить краб.
Система краб 50 джилекс. Краб 50 джилекс обратный клапан. Джилекс краб-т 18. Джилекс краб 24л. Как подключить краб.
Система краб 50 джилекс. Краб 50 джилекс обратный клапан. Джилекс краб-т 18. Джилекс краб 24л. Как подключить краб.
Система краб 50 джилекс. Насосная станция джилекс краб 50. Обратный клапан джилекс краб 24. Краб 24 джилекс схема подключения с насосом. Как подключить краб.
Система краб 50 джилекс. Насосная станция джилекс краб 50. Обратный клапан джилекс краб 24. Краб 24 джилекс схема подключения с насосом. Как подключить краб.
Система краб 50 джилекс. Гидроаккумулятор краб 24 джилекс. Насосная станция джилекс краб 50. Гидроаккумулятор джилекс 50 краб. Гидроаккумулятор краб 50 л джилекс.
Система краб 50 джилекс. Гидроаккумулятор краб 24 джилекс. Насосная станция джилекс краб 50. Гидроаккумулятор джилекс 50 краб. Гидроаккумулятор краб 50 л джилекс.
Фильтр для воды краб 50 джилекс. Краб 50 джилекс комплектация. Как подключить краб. Как подключить краб. Фильтр для воды краб 50 джилекс.
Фильтр для воды краб 50 джилекс. Краб 50 джилекс комплектация. Как подключить краб. Как подключить краб. Фильтр для воды краб 50 джилекс.
Как подключить краб. Гидроаккумулятор краб 24 джилекс. Гидроаккумулятор джилекс краб-т 50. Как подключить краб. Краб джилекс 24 50.
Как подключить краб. Гидроаккумулятор краб 24 джилекс. Гидроаккумулятор джилекс краб-т 50. Как подключить краб. Краб джилекс 24 50.
Насос для джилекс краб 50. Гидроаккумулятор джилекс 50 краб. Джилекс краб 50. Гидроаккумулятор краб 24 джилекс. Джилекс краб 50 схема.
Насос для джилекс краб 50. Гидроаккумулятор джилекс 50 краб. Джилекс краб 50. Гидроаккумулятор краб 24 джилекс. Джилекс краб 50 схема.
Насосная станция джилекс краб 50. Джилекс краб-т 18 схема монтажа. Как подключить краб. Схема подключения краба 50 джилекс. Джилекс краб 50.
Насосная станция джилекс краб 50. Джилекс краб-т 18 схема монтажа. Как подключить краб. Схема подключения краба 50 джилекс. Джилекс краб 50.
Джилекс краб 24л. Гидроаккумулятор краб 24 джилекс. Краб 24 джилекс схема подключения монтаж. Гидроаккумулятор краб 24 джилекс. Система краб 50 джилекс.
Джилекс краб 24л. Гидроаккумулятор краб 24 джилекс. Краб 24 джилекс схема подключения монтаж. Гидроаккумулятор краб 24 джилекс. Система краб 50 джилекс.
Как подключить краб. Краб 50 джилекс монтаж. Краб 24 джилекс схема. Как подключить краб. Краб 50 джилекс монтаж.
Как подключить краб. Краб 50 джилекс монтаж. Краб 24 джилекс схема. Как подключить краб. Краб 50 джилекс монтаж.
Как подключить краб. Джилекс краб 24. Гидроаккумулятор джилекс 50 краб. Реле давления джилекс краб 50. Джилекс краб 50 схема.
Как подключить краб. Джилекс краб 24. Гидроаккумулятор джилекс 50 краб. Реле давления джилекс краб 50. Джилекс краб 50 схема.
Как подключить краб. Краб т 50 джилекс схема. Фильтр для воды краб 50 джилекс. Гидроаккумулятор джилекс 50 краб. Джилекс краб 50.
Как подключить краб. Краб т 50 джилекс схема. Фильтр для воды краб 50 джилекс. Гидроаккумулятор джилекс 50 краб. Джилекс краб 50.
Гидроаккумулятор краб 50 л джилекс. Гидроаккумулятор джилекс 50 краб. Фильтр для краб 50 джилекс. Как подключить краб. Схема подключения джилекс краб т 100.
Гидроаккумулятор краб 50 л джилекс. Гидроаккумулятор джилекс 50 краб. Фильтр для краб 50 джилекс. Как подключить краб. Схема подключения джилекс краб т 100.
Как подключить краб. Джилекс краб 50. Манометр джилекс краб 50. Гидроаккумулятор краб 24 джилекс. Джилекс краб-т 50.
Как подключить краб. Джилекс краб 50. Манометр джилекс краб 50. Гидроаккумулятор краб 24 джилекс. Джилекс краб-т 50.
Джилекс краб 24л. Гидроаккумулятор краб 24 джилекс. Джилекс краб 50. Фильтр для краб т 50 джилекс. Обратный клапан джилекс краб 24.
Джилекс краб 24л. Гидроаккумулятор краб 24 джилекс. Джилекс краб 50. Фильтр для краб т 50 джилекс. Обратный клапан джилекс краб 24.
Реле давления джилекс краб 50. Гидроаккумулятор джилекс краб-т 50 50 л. Схема подключения краб 24 джилекс. Как подключить краб. Система краб 50 джилекс.
Реле давления джилекс краб 50. Гидроаккумулятор джилекс краб-т 50 50 л. Схема подключения краб 24 джилекс. Как подключить краб. Система краб 50 джилекс.